天问一号发射成功!商标却被多家公司申请注册
2020-07-28     397阅读     同路君

2020年7月23日北京时间12时41分,长征五号遥四运载火箭搭载我国首颗火星探测器“天问一号”,在海南文昌卫星发射中心成功发射,“天问一号”将在深空中飞行大约7个月的时间,2021年2月份左右到达火星。


商标网数据显示,截止7月24日,有关“天问一号”的商标申请共5条,申请公司包含湖南国科防务电子科技有限公司、天津星宇航天生物科技有限公司、宁波盖伦门控设备有限公司、陕西银砖建材有限公司,商标状态均为等待实质审查。


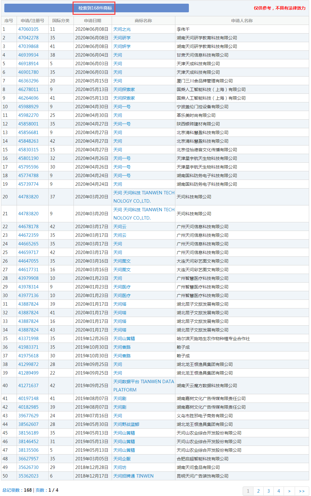
包含“天问”字样的商标共有168件;


在1994年8月申请了第一件“天问”商标,目前由于期满未续展已经被注销。


虽然“天问一号”商标遭到抢注,但是“火星车”外观专利早在2015年8月就已经被申请。

图片来源:百科君的IP杂谈



那些被申请为商标的卫星名称


卫星名称被申请为商标可不只“天问一号”这么一个,比如,中国于1970年4月24日发射的第一颗人造地球卫星“东方红一号”;

以中国古代神话人物嫦娥命名的嫦娥号系列;
还有我们比较熟悉的“神州”系列;

商标别抢注,域名也不放过


墨子号

mozihao.com(注册于2016年2月)
mozihao.cn(注册于2013年1月)
mozihao.net(注册于2016年8月15日)
mozihao.com.cn(注册于2016年8月15日)

......

东方红系列卫星
 
dongfanghon.com(注册于2000年)
dongfanghong.cn(注册于2009年)
dongfanghong.com.cn(注册于2004年)
dongfanghong.net(注册于2010年)

......

嫦娥系列卫星
 
change.com(注册于2010年)
change.cn(注册于2003年)
change.com.cn(注册于2007年)
......
 
北斗卫星导航系统
 
beidou.com(注册于2002年)
beidou.cn(注册于2012年)
beidou.com.cn(注册于2006年)
beidou.net(注册于2001年)
beidoudaohang.com(注册于2009年)
beidoudaohang.com.cn(注册于2012年)
beidoudaohang.net(注册于2011年)
beidoudaohang.cn(注册于2009年)

虽然这种抢注行为让人表示很无奈,但是同路君还是想说:真心为祖国的日益强大而骄傲和自豪。


内容来源:知识产权界


0 条评论
评 论
相关推荐
[同路商标]
“罗莱蔓”搭车傍上了“罗莱”,一网店侵犯商标权被判赔偿3万元
同路君·0评论          2020年09月01日
[同路商标]
“阿京腾百”惊现!BATJ怒了!联合申诉!什么情况?
同路君·0评论          2020年08月28日
[同路商标]
阿玛尼商标被人白白用了5年!正主跨半球来中国提起诉讼
同路君·0评论          2020年08月26日
[同路商标]
花落名家!荷花酒商标之争终有定论 认准正品再不怕被坑
同路君·0评论          2020年08月24日
[同路商标]
雷军商标“保卫战”胜诉,小米卫浴上诉被驳回
同路君·0评论          2020年08月21日
[同路商标]
“微博”到底是谁家的?新浪把腾讯告上法庭
同路君·0评论          2020年08月15日
[同路商标]
当“莫斯利安”遇见“斯利安”,一审被判商标无效!论商标布局的重要性!
同路君·0评论          2020年08月12日
[同路商标]
当“天眼”成为一包香烟,是弘扬科学家精神,还是“蹭热点”?
同路君·0评论          2020年08月10日
查看更多推荐

人工查询资料填写

×
  • * 商标名称:
  • * 从事行业:
  • * 手机号码:
  • * 短信验证:

查询结果稍后告知您,请您注意接听来电。

感谢您对同路股份提出宝贵的建议与意见

×
  • 投诉建议:
  • 联系QQ:
  • 常用E-mail:

请留下联系方式以便我们尽快解决您的问题

0.0598s