
ofo、摩拜到哈啰、美团......共享单车圈儿从来不缺新人,但是这个行业竞争激烈,经过几轮厮杀,现在剩下的似乎有美团、青桔、哈啰单车了。而在大多的二三线城市,哈啰单车几乎驰骋无敌,随处可见。如今,哈啰单车已经不限于单车领域,其已经进化成囊括哈啰单车、哈啰助力车、哈啰车服、哈啰换电和哈啰顺风车等综合业务的专业移动出行平台。
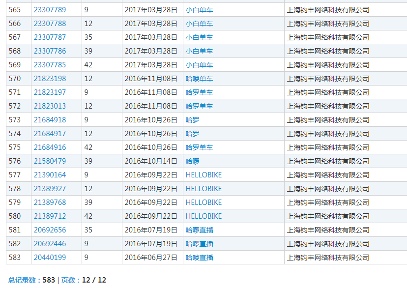
其实,哈啰出行最初并不叫哈啰,同嘀嘀改名“滴滴”类似,由“哈罗单车”变成了现如今的“哈啰出行”。早在2018年9月17日,哈罗单车在上海宣布正式更名为“哈啰出行”。对于更名原因,哈啰出行CEO杨磊称:“啰”字多了一个“口”,寓意着哈啰后期将采取更多措施与公众沟通交流,成为有亲和力的邻家品牌;哈啰出行未来将提供更广泛的出行服务,并开放流量和入口实现行业互惠,构筑多元、融合的智慧出行生态。此次更名真的只是像杨磊介绍的那样简单,还是背后遇到了商标上的隐忧呢?经查询,“哈啰出行”,主要由江苏永安行低碳科技有限公司旗下全资子公司“上海钧丰网络科技有限公司”作为主体申请其商标。在中国商标网查询,钧丰公司自2016年9月至今共有583条商标申请记录,单从数量看商标布局意识是没的说!
然而,最初钧丰公司申请注册的商标中涉及“哈罗”二字的,多以不带口字旁的“罗”为主,仅有一件2016年10月申请的第21580479号第39类“哈啰”商标使用了带口字旁的“啰”字。
之后大批量申请带口的“哈啰”商标就要到2018年4月18日了。然而,早在2014年3月3日,哈罗出行(北京)科技有限公司(下称北京哈罗)就在第38类服务上申请注册了“哈罗同行”商标。这甚至比钧丰公司申请最早的第21580479号第39类“哈啰”商标的申请时间还早了约两年半。显然,哈啰出行在快速业务扩张道路上遇到了商标“拦路虎”!而这只“哈罗出行”拦路虎到底是何方神圣?经查询“哈罗同行”是2013年成立的一家来自北京的交通出行运营技术提供商,主要服务于北京的机关单位、园区、企业、社区居民等,为其提供共享定制班车、短途摆渡车、旅游用车、共享自行车、潮汐式停车等出行产品。
显然,北京哈罗与上海钧丰的上海哈啰两家出行公司业务有很多重叠和相似之处。
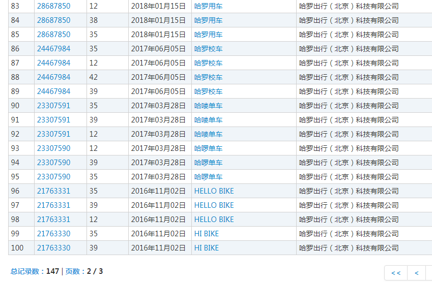
经查北京哈罗从2014年开始到现在总共申请注册了147个商标,其中大部分与“哈罗”、“哈啰”有关。最初申请的多为“哈罗”相关商标,而从2017年3月开始,哈罗出行申请注册了多个带口字旁的“哈啰单车”商标。
随着业务的发展,以及智慧出行等概念的兴起,2018年起两家企业纷纷开始了“出行”商标的争夺。2018年4月13日北京哈罗在多个类别申请了“哈啰出行”商标;而钧丰公司则晚了5天后(4月18日)才在第39类服务上申请注册了“哈啰单车”“哈啰出行”商标,并于4月25日又在第36类服务上申请注册了“哈啰单车”“哈啰出行”商标。之后北京哈罗又申请了“哈罗出行”“哈罗租车”等商标。这些无疑都标志着两家企业在“出行”系列商标争夺的白热化。无论是在共享单车服务上,还是更广泛的智能出行等领域,双方业务都有着相当程度的重合,以名称相同的商标开展业务必然会在将来引发不必要的冲突。从初衷讲,“哈罗单车”更名为“哈啰出行”的做法,对于双方可能都是好的。只不过,加上“口”字旁是否真的能避免相关用户混淆误认,规避潜在的冲突吗?显然,从后续事件发展看,并不乐观。7月27日,北京法院审判信息网上公布了一则两个哈啰(罗)的商标侵权案民事裁定书。而根据裁定书内容可知,北京哈罗向北京海淀法院起诉钧正公司(上海哈啰)未经许可,在其官网及APP等实际经营与宣传活动中擅自使用与涉案商标高度近似的"哈啰出行"标识,属于信息网络侵权行为等。
而一审法院认定该诉讼请求成立,意思是上海哈啰构成侵权。为此上海哈啰向北京知识产权法院提起诉讼,最终北京知识产权法院裁定:驳回上诉,维持原判。显然,两家公司已经因为商标纠纷对簿公堂,北京哈罗与上海哈啰的商标“战争”已经搬上了台面。商标纠纷维权真是一件费时费力的事情,所以,同路君再次提醒大家,一定要提前做好商标规划布局!商标申请遵循“申请在先”原则,从本案也不难看出,商标越早申请对企业越有利,越能掌握市场的主动权。